カットセル

乱流

圧縮性流体

非ニュートン流体

伝熱解析・熱連成・輻射

自然対流

2相流(沸騰・凝固)

燃焼・爆発

化学反応

CVD

自由表面・表面張力

粒子挙動

プラズマ・電磁場

固体内応力

曲線座標系

拡散

回転体

移動境界

トップページ熱流体事例 > 機能別及び検証事例建築・建設&空調・配管事例ガスレンジと窓の様々な位置におけるキッチンでの換気性能の予測

ガスレンジと窓の様々な位置におけるキッチンでの換気性能の予測

目的:アパートを設計するとき、CFD技術を生かすことで、良い換気性能を予測できる基本的な概念を確立します。

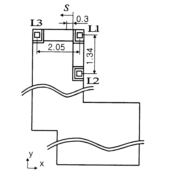
概要:本文では、PHOENICSver2.2を使用し、普通のアパートのキッチンと今との空間を解析領域にして、換気扇位置をL1に維持し、ガスレンジ及びキッチン窓の位置をパラメーターとして計算実験を行いました。計算は連続式、運動量方程式(浮力考慮)、乱流k-ε方程式、エネルギー(温度)式を解き、さらにCO2汚染INDEXを定義して計算に求めました。計算ケース比較の為、ガスレンジはL!位置で、窓位置S=0.0をベースに、次の結果が得られました。

●換気扇は風量スイッチ”大”、”中”、”小”の3出力で”小”の時、部屋全体の平均CO2濃度は一番高く、”大”の時は換気扇風速が”中”の時より20%早くなりますが、CO2濃度は保母同様です。従って、省エネルギーのために”中”を使用したほうが良いということがわかります。
●ガスレンジの位置は順番にL1、L2、L3の3つの場所に移動し、L1、L2、L3のCO2汚染INDEXは大抵1.0であることがわかります。
●窓の位置はS距離の変化により表します。S>0時、INDEXは1.0より小さくなります。その間、S<0.9時、Sが増えるとINDEXは小さくなりますが、S>0.9時、Sが増えるとINDEXは大きくなります。

ガスレンジと窓の様々な位置におけるキッチンでの換気性能の予測

©2005 Copyright Concentration Heat and Momentum Ltd. Welcome to this Web site ! since 8/Jan/1999